New Synergistic Technology
World's first Renewable Power Plants for EV Charge Stations
CENTRIPETAL FORCE COMPARISON
| Electric Vehicle | Wind Turbine | Train Wheel | K-Tech/Sys |
| 500 Nm ~ 1,500 Nm | 500 KN | 1,146 KN | 157,193 KN |
PATENTS
| No. | US Patent number | Title | Inventor name | Publication date | Documents | |
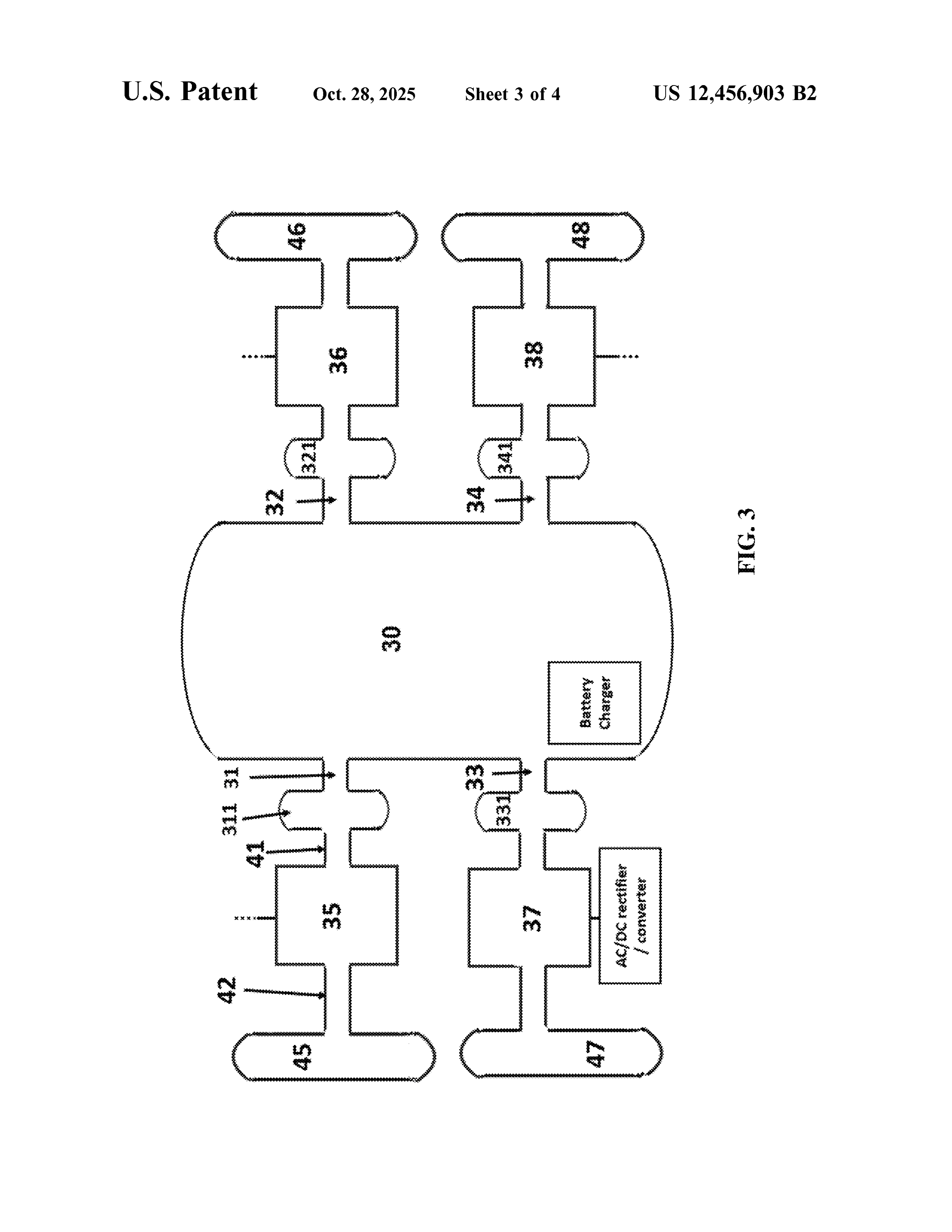
| 1 | US12456903B2 | MOBIL RENEWABLE POWER PLANT FOR MILITARY AND THE OTHER INDUSTRIES | Ki Il Kim, Young Kim, Sarah Duncanson, Paul Kim |
2025-10-28 | ||
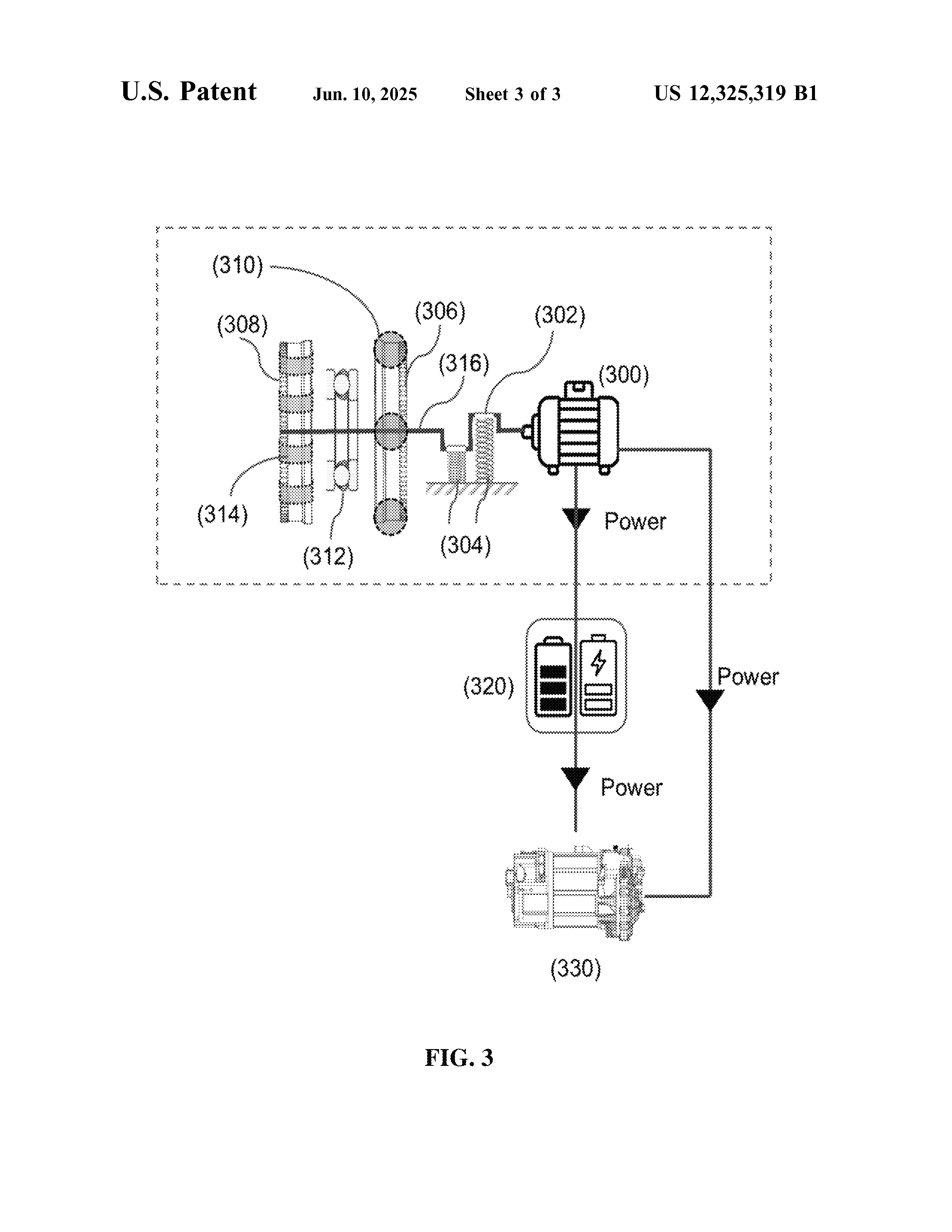
| 2 | US12325319B1 | APPARATUS AND METHOD FOR AUTONOMOUS POWER GENERATION AND BATTERY RECHARGING IN ELECTRIC VEHICLES | Ki Il Kim, Young Kim, Sarah Duncanson, Paul Kim |
2025-06-10 | ||
| 3 | 11777372 | Portable Power Generating System Uses Rotating Table | Ki Il Kim, Young Kim, Paul Kim, Sarah Duncanson |
2023-10-03 | ||
| 4 | 11613279 | Train Rail Power Generating System and Method | Ki Il Kim, Young Kim, Paul Kim, Sarah Duncanson |
2023-03-28 | ||
| 5 | 11606003 | Portable Power Generating System Uses Rotating Table | Ki Il Kim, Young Kim |
2023-03-14 | ||
| 6 | 11535283 | Train Derailment and Rollover Prevention System | Ki Il Kim, Young Kim, Paul Kim, Sarah Duncanson |
2022-12-27 | ||
| 7 | 11046178 | Vehicle Safety and Power Generating System | Ki Il Kim, Young Kim, Sarah Duncanson, Paul Kim |
2021-06-29 | ||
| 8 | 10476333 | Graphene power generating system using wasting energy from rotating shafts | Ki II Kim, Young Kim |
2019-11-12 | ||
| 9 | 9160222 | Apparatus with power generators driven by electric motors | Ki II Kim, Young Kim, Sarah Duncanson, Sandra Dyche |
2015-10-13 | ||
| 10 | 8872368 | Power Generating System Using Wasting Energy from Moving Objects | Ki II Kim, Young Kim, Sarah Duncanson |
2014-08-28 | ||
| 11 | 8536760 | Ball-Electric Power Generator | Ki II Kim, Sang Woo Kim, Young Kim, Keunyoung Lee, Seongsu Kim |
2013-09-17 | ||
| 12 | 8519596 | Graphene triboelectric charging device and a method of generating electricity by the same | Ki il Kim, Sang Woo Kim, Young Kim |
2013-08-27 | ||
| 13 | 20130143067 | Anti-Oxidation Coating Using Graphene | Ki Il Kim, Young K. Kim, Sang-Woo Kim |
2013-06-06 | ||
| 14 | 8269401 | Graphene Power-Mill System | Ki Il Kim, Sang Woo Kim, Young Kim |
2012-09-18 | ||
